Продукция /
Резина, уплотнительные материалы /

C выпуклым профилем

C выпуклым профилем

C выпуклым профилем

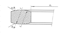
These machine-cut rings of convex shape are manufactured according to DIN 7603D or customer specifications.